Описание
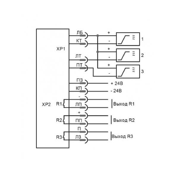
Блок сопряжения BCt N3-3R-DC24 предназначен для подключения индуктивных или емкостных или магниточувствительных взрывозащищенных выключателей (датчиков) с видом взрывозащиты 0Ex ia IICT6 GA X или 0Ex ia IICT4 GA X "искробезопасная электрическая цепь" по ГОСТ 12.2.020-76 и для преобразования слаботочного аналогового сигнала, поступающего от датчика, в сигнал реле для управления исполнительными устройствами транспортной автоматики. BCt N3-3R-DC24 обеспечивает: Гальваническую развязку датчика с исполнительным устройством. Преобразование слаботочного сигнала датчика в выходной сигнал реле для управления исполнительным устройством. Блок сопряжения относится к связанному электрооборудованию и должен использования в комплекте с датчиками, имеющими маркировку взрывозащиты 0Ex ia IICT6 GA X или 0Ex ia IICT4 GA X по ГОСТ 31610.0-2014. Вместо датчика на вход блока сопряжения можно подключить механический контакт (контактный датчик). Допускается использование блоков сопряжения с одним, двумя или тремя датчиками или механическими контактами. Сертификат соответствия № ТС RU C-RU.AA71.B.00484 от 28.09.2018.
| Характеристики | |
| Размер прямоугольного корпуса, ДлxВxШ | 120x60x42 |
| Номинальное напряжение питания, Uном. | 24 В DC |
| Допустимое напряжение на выходе (реле) | 240 В AC / 60 В DC |
| Допустимый ток нагрузки (/реле) | 1 А (cos φ=0,7) |
| Кол-во подключаемых выключателей | 1...3 |
| Кол-во релейных выходов | 3 |
| Кол-во электронных выходов | Нет |
| Масса | 0,3 кг |
| Номинальное напряжение на выключателе | 8,2 В |
| Номинальный ток выключателя | 2,2 мА |
| Порог срабатывания | 1,55...1,75 мА |
| Порог срабатывания аварийной защиты (короткое замыкание) | >6 мА |
| Порог срабатывания аварийной защиты (обрыв провода выключателя) | <0,1> |
| Диапазон рабочих температур | 0…+60°C |
| Сопротивление линии между выключателем и блоком | ≤50 Ом |
| Сопротивление нагрузки выключателя | 1 кОм |
| Тип аварийного выхода | Оптрон |
| Максимальная частота коммутации | 1500Гц |
| +375 (29) 661-00-15 | ![]() |
















