Описание
Датчик SHT Z51P5-41P-LZ предназначен для контроля и непрерывного преобразования относительной влажности и температуры воздуха в аналоговый выходной сигнал напряжения постоянного тока. Датчик предназначен для применения в составе систем автоматического контроля и регулирования климата в сельском хозяйстве, в промышленности. Принцип действия В датчике в качестве первичного преобразователя влажности и температуры используется чувствительный элемент (ЧЭ) на емкостном принципе действия, выполненный по интегральной технологии. Окружающий воздух к ЧЭ поступает через съемный фильтр датчика. Фильтр предохраняет ЧЭ от загрязнения. Данные о влажности и температуре окружающего воздуха с ЧЭ поступают в микропроцессорную схему обработки, и, далее преобразуются в выходные напряжения, пропорционально измеренной влажности и температуры.
| Характеристики | |
| Возможные замены | SKOV DOL 114 |
| Размер корпуса | ∅20x122 |
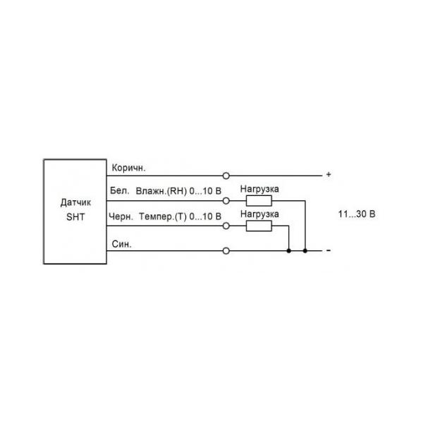
| Выходной сигнал преобразования относительной влажности | Напряжение 0...10В 0,1В/%RH |
| Выходной сигнал преобразования температуры | Напряжение 0...10В 0,1В/°C; 4В при 0°C |
| Способ подключения | Кабель 4x0,25; L=2м |
| Материал корпуса | Пластик ( Tekaform , черный) |
| Комплексная защита | Есть |
| Степень защиты по ГОСТ 14254-96 | IP65 |
| Время установления выходного сигнала, мин. | 2 |
| Диапазон измерения относительной влажности, % RH | 0...100 |
| Диапазон измерения температуры, °С | -40...+60 |
| Индикация состояния датчика | Есть, 2-х цветный светодиод |
| Материал фильтра | Алюминий |
| Напряжение питания постоянного тока, В | 11...30 |
| - в диапазоне температур: -40°С...-20°С, не более, °С | ±1,5 |
| Погрешность преобразования относительной влажности, не более, % | ±3 |
| Погрешность преобразования температуры | |
| Рабочая температура, °C | -40...+60 |
| - в диапазоне температур: -20°С...+60°С, не более, °С | ±0,5 |
| Сопротивление нагрузки, Ом | ≥ 500 |
| Ток нагрузки, мА | ≤ 20 |
| +375 (29) 661-00-15 | ![]() |














